Tech
6 key recommendations for Budget 2015: MAIT
IT hardware industry body MAIT has asked the government to consider giving duty relief and export sops to boost the domestic electronic manufacturing sector.
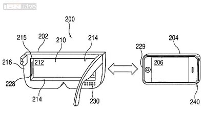
Apple could let you turn your iPhone into a virtual reality headset display
Apple awarded a patent on a headset that could let iPhones be part of augmented or virtual reality displays.
Goodbye GTalk: Google to shut down Google Talk Windows app today
Google is urging users to move to Hangouts. However the Google Talk service is still available through Gmail.
Now someone can manage your Facebook account after you die
Facebook users can pick a "legacy contact" to post on their page after they die, respond to new friend requests and update their profile picture and cover photo.
A new matchmaking service posts ads for you on Facebook to find you a date
All one needs to do is sign up for Lovebook, choose a package and make payment. After completion of the process, the ads show up on Facebook within 8 hours.
Xiaomi Redmi Note 4G available on Flipkart without registration from February 12
The Xiaomi Redmi Note 4G is priced at Rs 9,999 and available on Flipkart.
Google buys photo backup app Odysee to beef up picture-handling capabilities at Google+
Those using the Odysee app have until February 23 to download photos or videos being kept at the service.
2 weeks before Oscars, film academy honours 58 men, 1 woman for their behind-the-scenes science and technical work
Actors Miles Teller and Margot Robbie hosted the ceremony on Saturday night in Beverly Hills with a light comedic touch.
Here's why robots could replace more factory workers in the years to come
The shift will mean an increasing demand for skilled workers who can operate the machines, says Hal Sirkin, a senior partner at Boston Consulting.
Amid mobile slump, Samsung needs more outside customers for its chips and panels
Samsung has begun supplying organic light-emitting diode (OLED) panels to Chinese smartphone makers Lenovo, Coolpad, Oppo Electronics and Vivo Electronics.
Aquaris E4.5 Ubuntu Edition is the world's first Ubuntu phone; will go on sale next week
The Aquaris E4.5 Ubuntu Edition has a 4.5-inch display, 8GB internal storage (expandable), 5-megapixel front camera, and an 8-megapixel rear camera.
Invisible planes next on DRDO's radar, thanks to Sage Bharadwaj?
Indian scientist CSR Prabhu claims, can make invisible planes using pre-Mahabharata sage Bharadwaj's formulae.
SC to examine term 'grossly offensive' of IT Act provision
The court's observation came when Additional Solicitor General Tushar Mehta, appearing for the Centre, said that nothing is "grossly offensive" unless it leads to violence.
Alibaba's Jack Ma dethroned as China's richest man by Li Hejun, a solar energy entrepreneur: Report
Jack Ma and his family slipped to No. 3 in China, and No. 34 globally, on the Hurun Global Rich List, with a personal wealth of $24.5 billion.
Tablet sales show more signs of cooling: Surveys
The market has slowed because consumers are keeping their devices longer and turning in some cases to large "phablet" smartphones or new "ultramobile" PCs.
The Pirate Bay is back online after 2 months
Following a period of unavailability for about 2 months, the site has now resurfaced. Its homepage now features a Phoenix.